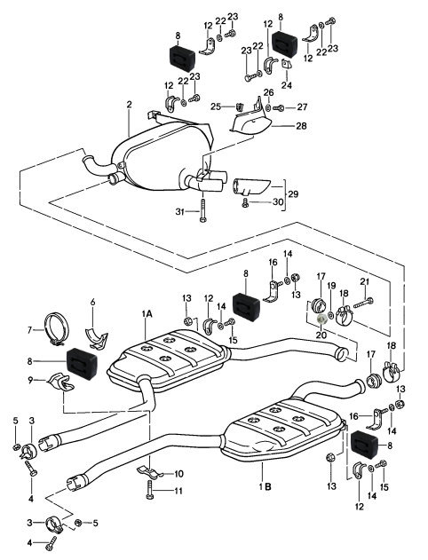
Abgasanlage / Hauptschalldämpfer Bj.85-86
Bitte klicken Sie in der unteren Liste auf den Artikel um Details und die Artikelnummer angezeigt zu bekommen.
1 bis 2 (von insgesamt 2)
Bitte klicken Sie in der unteren Liste auf den Artikel um Details und die Artikelnummer angezeigt zu bekommen.